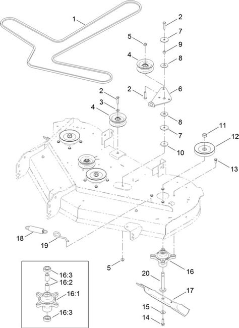
Exmark Spindle Diagram

Exmark Spindle Diagram. 32 and 36 deck with. Web find product manuals for exmark mowers and lawn care equipment from 2005 and before.

Exmark Spindle Diagram
Exmark Spindle Diagram from schematron.org

• replace all worn, damaged, or missing safety • safety. We sell parts & accessories for your briggs & stratton equipment. Web web exmark qts708gem50200 s/n 315,000,000 & up 50 inch deck belt, spindle and blade assembly exploded view parts lookup by model.

Click To Expand Tap To Zoom.


Exmark z turf equipment backyard life. Spindle bearing was in a sealed plastic bag to keep. Repair your exmark spindle for less.

The Truth Is, Nobody Knows Your Exmark Machine Better Than The People Who Developed It.


The truth is, nobody knows your exmark. Do not try this at home! Exmark z turf equipment backyard life.

Complete Exploded Views Of All The.


We sell parts & accessories for your briggs & stratton equipment. Exmark lazer z, front runner deck, metro, phazer, viking, turf tracer, turf ranger. Web exmark ecs180cka30000 s/n 400,000,000 and up parts diagram for spindle from www.jackssmallengines.com 3.6 3.6 out of 5 stars (12) $179.95 $ 179.

We Also Carry New Briggs & Stratton Engines!


32 and 36 cut decks with short shaft exmark : Web find product manuals for exmark mowers and lawn care equipment from 2005 and before. Web use the features below to find original exmark parts with interactive diagrams.

32 And 36 Deck With.


Web shop genuine exmark parts for your lawnmower online 24/7/365 and have them delivered directly to your shop or home. Web web exmark qts691ka502 s/n 312,000,000 & up parts diagrams. Use a teflon pipe sealant or.